新型一种防火环型吊装带,产品质量过硬。新型一种防火环型吊装带,其结构包括防火环型吊装带本体、外接保护套和内芯,所述防火环型吊装带本体的内部设有内芯。
- 2018-12-20
新型一种防火环型吊装带,产品质量过硬<技术研讨>
河北东圣吊索具制造有限公司编辑大圣介绍:新型一种防火环型吊装带,其结构包括防火环型吊装带本体、外接保护套和内芯,所述防火环型吊装带本体的内部设有内芯。
防火型吊装带其与其他吊装带使用原材料与吊装作业原理并无本质差别,与之前文章所讲述圆筒型吊装带研发生产原理类似,即为:解决特殊情况下所需吊装带特殊性能需求,这两种吊装带也可统称为特殊性能吊装带,并非常见类型。但在特殊作业场合缺“它”不可。
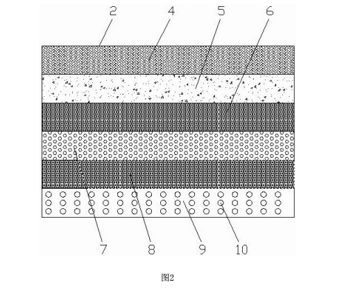
下面河北东圣吊索具编辑大圣为大家展示的防火性吊装带示意图:
防火型吊装带其与其他吊装带使用原材料与吊装作业原理并无本质差别,与之前文章所讲述圆筒型吊装带研发生产原理类似,即为:解决特殊情况下所需吊装带特殊性能需求,这两种吊装带也可统称为特殊性能吊装带,并非常见类型。但在特殊作业场合缺“它”不可。
下面河北东圣吊索具编辑大圣为大家展示的防火性吊装带示意图:
所述防火环型吊装带本体的外部设有保护套,所述保护套的外侧设有耐磨层,所述耐磨层的内侧设有耐腐蚀层,所述耐腐蚀层的内侧设有抗氧化层,所述抗氧化层的内侧设有防火纤维层,所述防火纤维层的内侧设有聚乙烯纤维层,所述聚乙烯纤维层的内侧设有吸音层。该防火环型吊装带,具有高效的防火性能,采用了较厚的石棉网层和纤维层,使得防火性能更高,通过在耐磨层内部采用的耐磨型PVC树脂,使得环型吊装带具有弹性柔软和抗磨损等特性,耐磨性能较高,通过设置的聚乙烯纤维层,使得环型吊装带的强度高,承载力加强,堪称大吨位吊装带。

(3),其特征在于:所述防火环型吊装带本体(1)的内部设有内芯(3),所述防火环型吊装带本体(1)的外部设有保护套(2),所述保护套(2)的外侧设有耐磨层(4),所述耐磨层(4)的内侧设有耐腐蚀层(5),所述耐腐蚀层(5)的内侧设有抗氧化层(6),所抗氧化层(6)的内侧设有防火纤维层(7),所述防火纤维层(7)的内侧设有聚乙烯纤维层(8),所述聚乙烯纤维层(8)的内侧设有吸音层(9)。
2 .防火环型吊装带,其特征在于:所述吸音层(9)的内部填充分布有吸音孔(10)。
3 .防火环型吊装带,其特征在于:所述耐磨层(4)的材质为PVC树脂。
4 .防火环型吊装带,其特征在于:所述耐磨层(4)的内部分布有钢丝绳。
5 .防火环型吊装带,其特征在于:所述防火纤维层(7)的内部分布有横向防火板和竖向防火板。
自从1995年***上根合成纤维扁平吊装带在美国成功应用于工业吊装领域后,它被广泛运用到船舶、金、机械、矿山、石油、化工、港口、电力、电子、运输、军事等领域。特别是防火环型吊装带的携带轻、维护方便和良好的抗化学性,以及具有重量轻、强度高、不易损伤吊装物体表面等优异特点,它越来越使用人员的青睐并在许多方面逐步替代了钢丝绳索具。
防火环型吊装带按类型分,主要分为圆形吊装带和扁平吊装带两大类。扁平吊装带主要由尼龙纤维(聚酰胺合成纤维)、涤纶纤维(聚酯合成纤维)和丙纶纤维(聚丙烯合成维)制成。它们各有特性,可适合于不同的环境场合,但不同材质的吊装带不可以混用。具体的扁平带的特性可见扁平吊装带。圆型吊装带的材质主要是涤纶合成纤维(聚酯) ,外层用涤纶圆套管做成保护层,而内芯用连续的涤纶芯纱作为承受吊装负载。现有的防火环型吊装带的强度不高,不耐用,使用年限短,防火性能不佳,耐磨性能也不强,容易在使用过程中发生危险。
防火环型吊装带按类型分,主要分为圆形吊装带和扁平吊装带两大类。扁平吊装带主要由尼龙纤维(聚酰胺合成纤维)、涤纶纤维(聚酯合成纤维)和丙纶纤维(聚丙烯合成维)制成。它们各有特性,可适合于不同的环境场合,但不同材质的吊装带不可以混用。具体的扁平带的特性可见扁平吊装带。圆型吊装带的材质主要是涤纶合成纤维(聚酯) ,外层用涤纶圆套管做成保护层,而内芯用连续的涤纶芯纱作为承受吊装负载。现有的防火环型吊装带的强度不高,不耐用,使用年限短,防火性能不佳,耐磨性能也不强,容易在使用过程中发生危险。
为实现上述目的,本实用新型提供如下技术方案:一种防火环型吊装带,其结构包括防火环型吊装带本体、外接保护套和内芯,所述防火环型吊装带本体的内部设有内芯,所述防火环型吊装带本体的外部设有保护套,所述保护套的外侧设有耐磨层,所述耐磨层的内侧设有耐腐蚀层,所述耐腐蚀层的内侧设有抗氧化层,所述抗氧化层的内侧设有防火纤维层防火纤维层的内侧设有聚乙烯纤维层,所述聚乙烯纤维层的内侧设有吸音层。吸音层的内部填充分布有吸音孔耐磨层的材质为PVC树脂耐磨层的内部分布有钢丝绳防火纤维层的内部分布有横向防火板和竖向防火板。
与现有技术相比,本实用新型的有益效果:该防火环型吊装带,具有高效的防火性能,采用了较厚的石棉网层和纤维层,使得防火性能更高,通过在耐磨层内部采用的耐磨型PVC树脂,使得环型吊装带具有弹性柔软和抗磨损等特性,耐磨性能较高,通过设置的聚乙烯纤维层,使得环型吊装带的强度高,承载力加强,吊装带载荷标准更符合标准,抗老化的作用,结构强度高,***,设计合理,易于实现,吊装带报价表可咨询吊装带厂家索要。
图1 为本实用新型一种防火环型吊装带的整体结构图;

图2为本实用新型一种防火环型吊装带的整体结构图。

如若您有更多专业问题咨询,可扫描公司二维码,专业客服,为您解答如若您有更多专业问题咨询。
白色吊装带/彩色吊装带/柔性吊装带/小型搅拌机批发零售/石材夹具/手动叉车/液压堆高车产品图片视频等时效资讯。
赶快来获取吊装带生产厂家一手信息,拒绝中间商,给你批发价格!联系电话:13933276606 崔经理
白色吊装带/彩色吊装带/柔性吊装带/小型搅拌机批发零售/石材夹具/手动叉车/液压堆高车产品图片视频等时效资讯。
赶快来获取吊装带生产厂家一手信息,拒绝中间商,给你批发价格!联系电话:13933276606 崔经理

